Apple, 제스추어로 파일을 교환하는 특허 출원

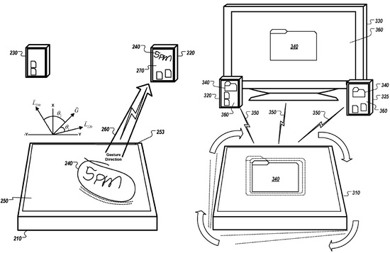
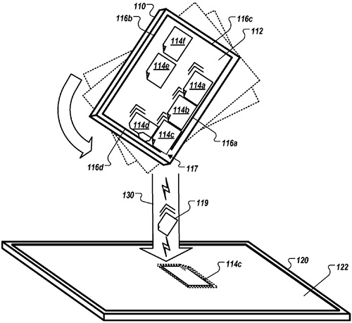
Apple에서는 직감적인 터치로 기기간에 파일을 전송할 수 있는?특허를 2010년 1월5일에 출원 했다고 전하고 있습니다. 이 특허 출원 서류에는 기기에 내장된 1개혹은 복수의 센서를 이용해 유저가 실행한 동작을 검출해, 실제 처럼 움직이는 애니메이션과 함께, 직감적으로 파일을 교환한다고 합니다.

예를 들면 위의 그림처럼 기기를 기울이거나 회전 시키면 기기내부에 데이터가 움직이면서 다른 기기에 이동한다고 합니다.

관련기사 😕AppleInsider


KMUG 케이머그에서 더 알아보기

구독을 신청하면 최신 게시물을 이메일로 받아볼 수 있습니다.

댓글 남기기

KMUG 케이머그에서 더 알아보기

지금 구독하여 계속 읽고 전체 아카이브에 액세스하세요.

계속 읽기