
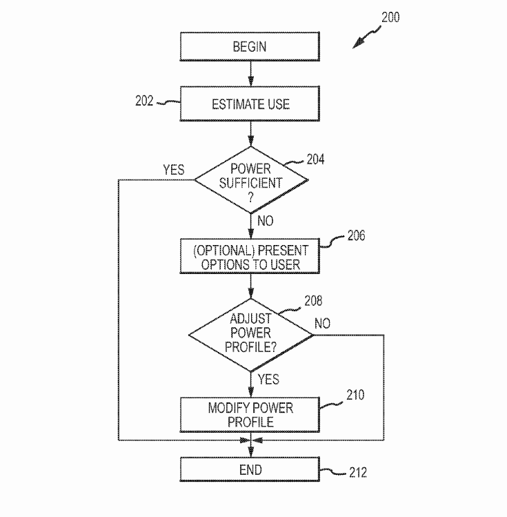
Apple은 지능형 배터리 관련 특허를 등록하고 있습니다. 이는 사용자의 습관과 장소등을 모니터하여 지능적으로 배터리를 관리하여 포터블 디바이스를 더 오래 사용 할 수 있게 한다는 내용의 특허 입니다.
http://appft1.uspto.gov/netacgi/nph-Parser?Sect1=PTO1&Sect2=HITOFF&d=PG01&p=1&u=%2Fnetahtml%2FPTO%2Fsrchnum.html&r=1&f=G&l=50&s1=%2220130191662%22.PGNR.&OS=DN/20130191662&RS=DN/20130191662
http://www.macrumors.com/2013/07/25/apple-applies-for-patent-on-intelligent-power-management-for-electronic-devices/
KMUG 케이머그에서 더 알아보기
구독을 신청하면 최신 게시물을 이메일로 받아볼 수 있습니다.